最后更新:2022-05-25 09:33:33 手机定位技术交流文章
1 概述
ADL400是一种智能工具,主要为电力系统、工业和采矿公司、公用事业的电力统计、管理需要以及高精度、紧凑尺寸和简易安装的货物所创建。
综合电力参数测量和电力能源测量和评估的管理,在今后48个月内,将提供关于所有形式的电力能源数据的统计数据。2至31次波至全部同步内容测试使用了RS485通信接口。MODBUS-RTU或DL/T645协议可供使用。各种控制系统都可找到电气仪器。在SCADA和能源管理系统内。
2 功能列表

通信必须符合对等费率和附带功能,以支持698份通信议定书的权力表。
3 技术参数

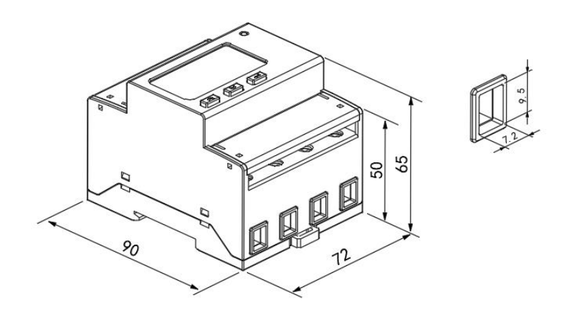
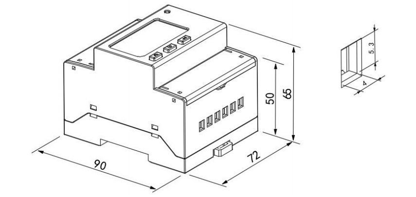
4 外形尺寸


图 1 直接接入

图2:传感器连接
注:直接电线接入应为3-4N.m.m.。 传感器到电线的距离应为1.5-2N.m.m.。
5 通信说明
MODBUS-RTU通信协议得到该仪器的RS485通信界面的支持。可以配置1200至2400位/秒,4800位/秒,9600位/秒,19200位/秒。校验位为无校验。该仪器的RS485接口需要使用屏蔽双弦连接。在铺设电线之前,应考虑网络布局:例如电缆长度、方向、顶部机器的位置、网络端的阻力、通信转换器、网络可扩缩性、网络覆盖、电磁干扰环境等等。都要综合考虑。
注:
1. 电线工程是精确按照规格建造的。
2. 目前,不需要通信的文书附于RS-485,用于诊断和检测。
3. 在可行的情况下,对RS-485电缆连接使用双色梳子;所有485个通信港口“A”用一种颜色终止,“B”用另一种颜色终止。
4. RS-485号公共汽车(从机器顶部到任何相连仪器终端)的长度限于1 200米。
该文书符合《MODBUS-RTU协定》、《DL/T645-2007规约》、《DL/T645-1997规约》和《DL/T698.45-2017协定》。
本文由 在线网速测试 整理编辑,转载请注明出处。