最后更新:2021-12-09 11:09:23 手机定位技术交流文章
1.报文拆分
例如,如果用户希望发送一个巨大的文件,但网络没有在底部处理如此大量的数据,则必须将该文件分解成多个数据块进行传输。复用路径的方式
2.增加协议头
一旦数据细分,接收端必须执行数据。重组与实际交付的情况一样,实际交付要求信使对每个箱都作类似的标记,传送是分开的,接收是重新配置的,因此,需要在描述中加上协议的标题:例如,要传送的目的地的地址,目的地的具体申请等等。
三. 附近装置之间数据传输
不同边界的设备可以通过网关和复杂的网络传输层从外部和内部传输。这是最简单的回答问题之一,就是同样的边界,这就是如何在同一个局域网内传输。
四. 路线和地点问题
当数据到达节点时, 您如何根据复杂性选择下一个最佳节点?路由算法定位可供传输的节点 。
5.数据重组
数据在传输时被分割;数据在收到时如何重新组合,如何确保数据的准确性?
这五项挑战将由每套协定解决。
5层模型和OSI的区别如下:
一. 消除了会话层,因为会话层可划为下层传输层或上层应用层,实际上就是会话层。虚拟概念,不是必须的
2. 表达式层已被删除,不再需要数据压缩和格式转换。
如果申请需要这两个级别,可以在申请层执行。
TCP/IP包件替代物:
TCP、UDP、TLS/SSL、SCTP和其他转让层
网络协议包括IP协议(IPv4和IPv6)、IPCMP协议和IPSec协议。
概念
TCP代表《运输控制议定书》,这是一项可靠、全时、以连接为导向的协定,要求在客户和服务之间交换数据之前建立连接。
1. 什么是连接
连通性是一个虚拟的抽象想法,它让两个通信进程都保持在线,同时也加快了相应的请求。 比如,两人讨论不会在对话结束之前立即离开,而连通将成为一个会议,使通信更加可靠和安全,但保持连通需要更多的资源。
2. 什么全双工
了解单工:单工就是任何时候数据只能单向发送,比如固定A->B发送数据,就只能是A->B发送,B不能向A发送
了解半双工:半双工就是允许数据在两个方向上传输,在某一时刻,只允许数据在一个方向上传输。比如A->B发送数据,B也可以向A发送数据,但是,在同一时间只能是A向B发送数据或者是B向A发送,假设有10个物理线,不存在五根线是A->B,五根线是B->A的情况。
全双工:任何时刻都能双向发送数据,但是至少是两根线路才行,同一时刻一根线路可以A->B发送,另一根线路可以是B->A发送
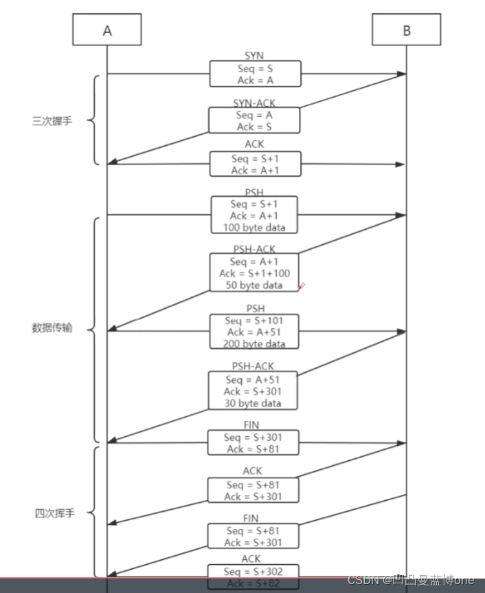
三. TCP协议的工作方法(三次握手、四次挥手)
介绍程序(三次握手)
当客户传输SYN和服务器准备连接(即客户可以安全发送)时,即发生第一次握手。
第二手握:客户用SYN到ACK,服务用SYN到ACK(确保服务提供商的接受和交付能力)。
第三手握:客户准备并发送ACK(客户接受的终端得到保证)。
可以使用三种握手来建立链接,使婴儿的客户和服务提供者都能接收和发送数据。
断断过程(四波)
第一波:客户端向服务器发送FIN的断开请求, 表示我和客户端分手了。
第二波:客户从客户收到FIN的分手请求,客户的反应是通知客户您将断开连接。
第三波:如果FIN被阻止的服务端法官被阻止, 为什么不能在创建请求的同时将其发送给客户? 因为当服务端收到中断请求时, 当服务端可能仍在处理请求时, 当服务端无法立即切断服务端, 而服务端必须决定关闭连接, 并发送 FIN 给客户 。
第四波:在客户得到FIN允许他经营自己的业务后,ACK就被给予,然后客户和服务就断开。
四. 通过TCP议定书进行的数据运输
TCP协议要求分三个阶段发送数据:
报文拆分:
只是当数据数量如此之大 以至于无法同时全部传送时 数据必须被分割成多个数据区块并行传输。
当报告被分开时,如何确保数据的可信度?
当发送者以有序的方式分离和发送数据时,每个数据区块都贴上序列号,接收者根据序列号获得数据并重新排序。
如果数量过多,如何安排TCP段落?
采用时间窗口接收数据的方式,即接收者要求只处理收到的数据,并需经过一段时间才能进行分类,如果发现数据在这一期间不是连续的,可丢弃包件,并指示发送者重新发布。
当信息被分割,AB同时收到多个序列号时会怎样?
TCP使用两个序列号,以确保可靠性。发送序列号(Seq),收到序列号(Ack)。,一端的接受序列号是另一端的分发序列号,续集和杰克是一对。
事实上,TCP传输的序列号不是自动增加的,而是根据发送和接收的字节数目,确保秩序,如下文所示:
TCP头:
TCP报告关系分为TCP头条标题和TCP数据部分,后者主要包括:
1. 来源端口:解释发件人计算机上运行的程序。
2. 目标端口:描述接收服务器的应用程序 。
3. 发出一个序列号(Seq)并收到一个序列号(Ack)。
TCP头-标志位:
TCP 延期协定,1.NS、2.CHWR
三. 展示《选区控制协定》,该协定有助于解决袋延误和损失等问题。
四.URG:必须尽快处理的紧急标记。
五.SYN (同步安全编号):通过同步序列号创建连接 。
与网络断开连接
反应。
PSH(推):数据传输
RST 表示重置连接 。
TCP协议周边配置
一. 错误更正能力:数据可靠性保证:
TCP有一个16位数的校验和字段。
校验和是一个函数,它将原始代码转换为不可逆转的16位元代码,使您能够确定原始文本的传输是否有变化。
2. 软控制能力:与双极速度同步,以提供可靠性:
主要目标是使发件人和收件人商定适当的发送和发送速度,使双方能够稳步运作。
利用滑动窗口
拥有控制:查明网络拥堵影响传输速度。
本文由 在线网速测试 整理编辑,转载请注明出处。