最后更新:2021-12-27 03:25:52 手机定位技术交流文章
如果您无法识别属于不同类型协议和不同类型协议的作用之间的区别,您应该更多地了解TCP/IP协议。


一图看完本文
一. 计算机网络系统的结构

计算机网络架构

计算机网络架构
在分层模块上, TCP/IP 和 OSI 之间有明确的区别。 OSI 参考模型侧重于“ 通信协议需要什么功能 ”, 而 TCP/IP 则侧重于“ 执行计算机协议应该建立什么程序 ” 。
二、TCP/IP基金会
一. TCP/IP的准确定义
从字面意义上讲,TCP/IP似乎既涉及TCP协议,也涉及IPO协议。在现实生活中,也确实提到两种形式的协定。然而在很多情况下,在通过IP进行通信时,必须使用的只是软件包的一般名称。具体来说,TCP/IP协议包括IP或IPCMP、TCP或UDP、TELNET或FTP以及HTTP。它们与TCP或IP关系密切。它是互联网的必要组成部分。TCP/IP指整个这些协定。因此,TCP/IP有时也被称为网络间议定书小组。
当互联网互动时,匹配的网络协议是必要的,TCP/IP最初是作为使用互联网的用户建立的,TCP/IP是互联网协议。

网际协议群
2. 数据包
包件、框架、数据集、段和电文都是可以使用的术语。
上述五个字用于说明提供数据的单位,大致分类如下:
一揽子方案可被视为一个包罗万象的词。
框架用于代表数据链层中层中的单位。
数据包是指在IP和UDP以上网络层中进行调解的单位。
TCP数据流中的信息以图表表示。
协议中的数据应用单位称为电文。
一揽子方案可被视为一个包罗万象的词。
框架用于代表数据链层中层中的单位。
数据包是指在IP和UDP以上网络层中进行调解的单位。
TCP数据流中的信息以图表表示。
协议中的数据应用单位称为电文。
每个分层中,所提供的每一信息都附有头条标题。第一节涵盖这一级别所需的所有信息。如果发送目的地地址以及有关协议的信息。通常,包件的第一部分是为协定提供的信息。数据是将要传输的材料类型。在下一层的角度看,从上一级收到的任何软件包都被视为当前水平数据。

数据包首部
在整个网络传输的数据集由两部分组成:一部分是拟使用的协议第一部分,另一部分是拟使用的软件包第一部分。上层的数据是另一个组成部分。第一部分的结构根据协议的独特标准详细确定。在数据包的首部,协议明确规定了应如何解读数据。反过来说,看到首部,将提供协定所需的资料以及将处理的数据。包包的第一部分是交易的表情
3. 数据处理流程
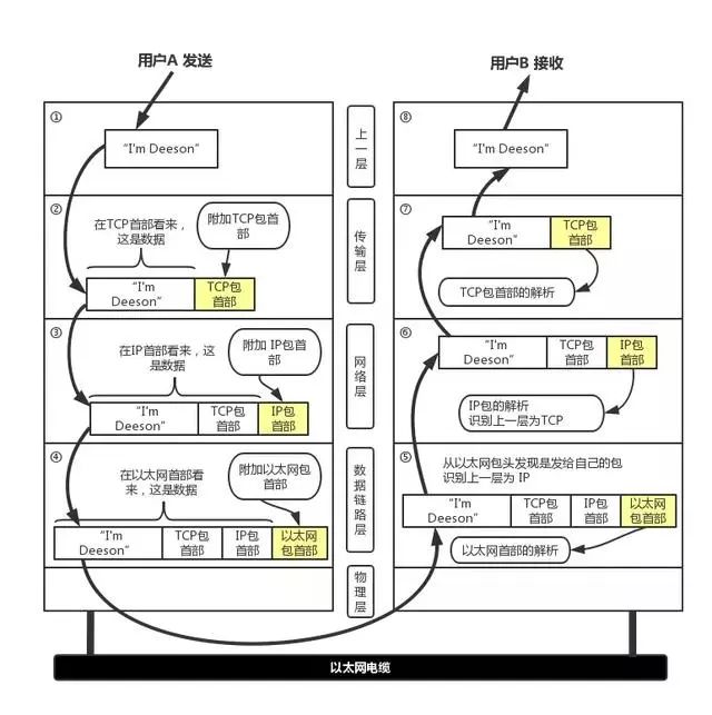
以下图表显示用户向用户 b 发送消息的用户 :

数据处理流程
① 应用程序处理
最初,应用程序是编码的,这些代码与OSI表达式层功能相对应。
电文并非总在编码后立即发出,而编码是何时进行通信连接和何时提供数据的管理功能,与OSI会话层功能相似。
处理两个TCP模块
TCP负责根据有关指示建立连接、提供数据和关闭连接。TCP提供从应用层到终端的可靠传输。为履行这一职能,必须在应用层数据前端加上TCP页头。
3 实施伙伴模块的处理
当 IP 软件包形成时, 控制表的引用路径将定义接受 IP 软件包的路线或主机。 IP 将 TCP 第一部分和 TCP 传输的 TCP 数据合并为自己的数据, 并在 TCP 第一部分的前端添加自己的 IP 页眉 。
4个网络接口处理(由计算机驱动)
来自 IP 的 IP 软件包是 以太网 的数据 。 数据附在 以太网 顶端并交付处理, 由此产生的以太网 数据包则通过 IP 的 物理层 IP 软件包发送到接收端 。 数据附在 以太网 顶端并交付处理, 由此产生的以太网 数据包则通过 物理层发送到接收端 。
5个网络接口处理(由计算机驱动)
收到以太网包件后,主机首先通过确定以太网包件第一部分的MAC地址来确定是将包件交给自己还是删除数据。
如果软件包被传送给它自己,则数据的类型按以太网软件包第一部分的种类来界定,并交给各自的模块,如IP、ARP等。 IP就是一个例子。
正在处理六个实施伙伴模块。
IP 模块接收数据并进行类似的处理。 它确定 IP 地址是否与包件第一部分的IP 地址匹配, 如果匹配, 根据第一个协议类型将数据传送到适当的模块, 如 TCP 或 UDP 。
此外,就路由器而言,接收端地址往往不是其本身的,在对应交付的主路由器或路由器进行调查后,必须使用路线控制表传送数据。
正在处理7个TCP模块。
在 TCP 模块中,首先计算校验和以核实数据是否被删除。然后,检查序列号以确定是否收到数据。最后,检查端口号以查看具体应用程序。在全部收到数据时,将数据转移到按端口号标明的应用软件中。
⑧ 应用程序的处理
接收申请程序立即收到发件人提供的数据,并在处理数据后显示相应的内容。
① 应用程序处理
最初,应用程序是编码的,这些代码与OSI表达式层功能相对应。
电文并非总在编码后立即发出,而编码是何时进行通信连接和何时提供数据的管理功能,与OSI会话层功能相似。
处理两个TCP模块
TCP负责根据有关指示建立连接、提供数据和关闭连接。TCP提供从应用层到终端的可靠传输。为履行这一职能,必须在应用层数据前端加上TCP页头。
3 实施伙伴模块的处理
当 IP 软件包形成时, 控制表的引用路径将定义接受 IP 软件包的路线或主机。 IP 将 TCP 第一部分和 TCP 传输的 TCP 数据合并为自己的数据, 并在 TCP 第一部分的前端添加自己的 IP 页眉 。
4个网络接口处理(由计算机驱动)
来自 IP 的 IP 软件包是 以太网 的数据 。 数据附在 以太网 顶端并交付处理, 由此产生的以太网 数据包则通过 IP 的 物理层 IP 软件包发送到接收端 。 数据附在 以太网 顶端并交付处理, 由此产生的以太网 数据包则通过 物理层发送到接收端 。
5个网络接口处理(由计算机驱动)
收到以太网包件后,主机首先通过确定以太网包件第一部分的MAC地址来确定是将包件交给自己还是删除数据。
如果软件包被传送给它自己,则数据的类型按以太网软件包第一部分的种类来界定,并交给各自的模块,如IP、ARP等。 IP就是一个例子。
正在处理六个实施伙伴模块。
IP 模块接收数据并进行类似的处理。 它确定 IP 地址是否与包件第一部分的IP 地址匹配, 如果匹配, 根据第一个协议类型将数据传送到适当的模块, 如 TCP 或 UDP 。
此外,就路由器而言,接收端地址往往不是其本身的,在对应交付的主路由器或路由器进行调查后,必须使用路线控制表传送数据。
正在处理7个TCP模块。
在 TCP 模块中,首先计算校验和以核实数据是否被删除。然后,检查序列号以确定是否收到数据。最后,检查端口号以查看具体应用程序。在全部收到数据时,将数据转移到按端口号标明的应用软件中。
⑧ 应用程序的处理
接收申请程序立即收到发件人提供的数据,并在处理数据后显示相应的内容。
TCP和UDP是TCP/IP的两个典型传输层协议。
TCP是一项可靠、相互关联的流动协议。流动是一个持续的数据结构。当程序通过 TCP 发送信息时,虽然确保发运订单是可行的,然而在到达接收端的数据流中 并没有差距。TCP确保可靠的传输。引入了“序列控制”或“重新激活控制”机制。还有“流量控制(流量控制)”、“人群控制”等功能,以及网络利用率的提高。
UDP是一个不值得信赖的数据报告协议。 稍有管理,它将留给高层程序完成。 就UDP而言,虽然保证了信息的规模,但无法保证信息会到来。 因此,申请偶尔会根据自己的要求重新发布。
很难和完全比较TCP和UDP的利弊:一方面,在传输层需要可靠传输的情况下使用TCP;另一方面,在传输层不需要可靠传输的情况下使用UDP。联合发展方案主要用于通信或广播需要高速传输和实时性能的通信。TCP和UDP只应在申请需要时使用。
TCP是一项可靠、相互关联的流动协议。流动是一个持续的数据结构。当程序通过 TCP 发送信息时,虽然确保发运订单是可行的,然而在到达接收端的数据流中 并没有差距。TCP确保可靠的传输。引入了“序列控制”或“重新激活控制”机制。还有“流量控制(流量控制)”、“人群控制”等功能,以及网络利用率的提高。
UDP是一个不值得信赖的数据报告协议。 稍有管理,它将留给高层程序完成。 就UDP而言,虽然保证了信息的规模,但无法保证信息会到来。 因此,申请偶尔会根据自己的要求重新发布。
很难和完全比较TCP和UDP的利弊:一方面,在传输层需要可靠传输的情况下使用TCP;另一方面,在传输层不需要可靠传输的情况下使用UDP。联合发展方案主要用于通信或广播需要高速传输和实时性能的通信。TCP和UDP只应在申请需要时使用。
1. 端口号
IPIP地址和数据连接这分别涉及停战委员会和国际知识产权的地址。前者用于区分同一网络链中的机器。后者用于TCP/IP网络,以确定连接的主机和路由器。在传输层中,也有地址的概念。那就是端口号。端口号用于区分在同一台机器上进行通信的各种应用程序。因此,它有时被称为方案地址。
一.1 按照港口识别法使用
多个程序可以同时在计算机上操作。 传输层协议使用这些端口号来识别主机进行通信的应用程序, 并正确发送数据 。

通过端口号识别应用
一.2. 按IPIP地址、港口号和协议号识别通信
仅靠目标港号不足以识别通信。
仅靠目标港号不足以识别通信。


按港口号、知识产权地址和协议号分列的通信识别
通信1和2由两台计算机进行,两台计算机的目标号码相同,均为80,可通过源港口号确定。
目标与源端口号3和1相同,但其源IP地址不同。
此外,如果IP地址和港口号相同,我们可以用协议号(TCP和UDP)加以区分。
通信1和2由两台计算机进行,两台计算机的目标号码相同,均为80,可通过源港口号确定。
目标与源端口号3和1相同,但其源IP地址不同。
此外,如果IP地址和港口号相同,我们可以用协议号(TCP和UDP)加以区分。
一. 选择三个港口的港口号
标准港口号:这种办法也称为静态方法。这意味着每个程序都有独特的端口号。尽管如此,这并不意味着可以在任何时候使用任何港口号。HTTP、FTP、TELNET等通用应用协议中使用的港口号得到修理。它们被称为已知港口号。除了众所周知的港口号外,该港口号在0至1023之间分配。有些港口号已经正式登记,而其他港口号则尚未登记。他们分散在1024至49151之间。尽管如此,这些港口号可用于任何类型的通信。
服务器必须使用时间顺序分配方法决定监听端口号 。另一方面,接受服务的客户无需确定港口号。在这种方法下,允许客户程序选择自己的端口号。相反,操作系统获得完全的分配权。动态分配的港口号从49152到65535不等。
标准港口号:这种办法也称为静态方法。这意味着每个程序都有独特的端口号。尽管如此,这并不意味着可以在任何时候使用任何港口号。HTTP、FTP、TELNET等通用应用协议中使用的港口号得到修理。它们被称为已知港口号。除了众所周知的港口号外,该港口号在0至1023之间分配。有些港口号已经正式登记,而其他港口号则尚未登记。他们分散在1024至49151之间。尽管如此,这些港口号可用于任何类型的通信。
服务器必须使用时间顺序分配方法决定监听端口号 。另一方面,接受服务的客户无需确定港口号。在这种方法下,允许客户程序选择自己的端口号。相反,操作系统获得完全的分配权。动态分配的港口号从49152到65535不等。
一. 议定书和港口号
由于端口号是由传输层协议确定的,许多传输层可以使用同样的端口号。
此外,已知的港口号与传输层协议无关,只要港口是固定的,同样的申请将分配给处理。
由于端口号是由传输层协议确定的,许多传输层可以使用同样的端口号。
此外,已知的港口号与传输层协议无关,只要港口是固定的,同样的申请将分配给处理。
2. UDP
联合民主党缺乏全面的控制机制,而是依靠知识产权提供互不相连的通信服务。
也是一种将数据从应用程序上立即传送到网络的工具。 即使在网络堵塞的情况下,UDP也无法实施交通管理等以避免网络拥挤。
此外,UDP也不负责在传输过程中重新发放丢失的包件。
即使包裹的到货订单被弄乱了 也没有纠正功能
如果以上所列信息是必要的,则必须由一个使用UDP的程序来处理。
UDP经常在以下情况下使用:1. 包件较少(DNS、SNMP等)的通信;2. 视频、音频和其他(即时通信)等多媒体通信;3. 仅限于局域网等专门网络的通信;4. 广播通信(无线电、多广播)。
联合民主党缺乏全面的控制机制,而是依靠知识产权提供互不相连的通信服务。
也是一种将数据从应用程序上立即传送到网络的工具。 即使在网络堵塞的情况下,UDP也无法实施交通管理等以避免网络拥挤。
此外,UDP也不负责在传输过程中重新发放丢失的包件。
即使包裹的到货订单被弄乱了 也没有纠正功能
如果以上所列信息是必要的,则必须由一个使用UDP的程序来处理。
UDP经常在以下情况下使用:1. 包件较少(DNS、SNMP等)的通信;2. 视频、音频和其他(即时通信)等多媒体通信;3. 仅限于局域网等专门网络的通信;4. 广播通信(无线电、多广播)。
3. TCP
TCP和UDP之间的差别很大,TCP在数据传输期间完全完成了不同的控制任务,允许在处置期间重新发射控制,还规定了分离分包合同的顺序管理,而UDP没有。
此外,作为一项以连接为导向的协议,TCP只有在确定存在端对端通信的情况下才提供数据,以减少通信交通废物。
根据这些TCP程序(主要是通过测试和测试、序列号、回复确认、重新发射控制、连接管理和窗口控制等机制),还可实现IP这一没有连接的网络的通信互换的高度可靠性。
TCP和UDP之间的差别很大,TCP在数据传输期间完全完成了不同的控制任务,允许在处置期间重新发射控制,还规定了分离分包合同的顺序管理,而UDP没有。
此外,作为一项以连接为导向的协议,TCP只有在确定存在端对端通信的情况下才提供数据,以减少通信交通废物。
根据这些TCP程序(主要是通过测试和测试、序列号、回复确认、重新发射控制、连接管理和窗口控制等机制),还可实现IP这一没有连接的网络的通信互换的高度可靠性。
3.1 三节握手(集中)
TCP使通信能够进行连接传输。连接方向是指在数据通信开始之前为两个目的做准备。
TCP 连接需要客户端和服务器总共三个包,以确认连接的形成。在套接字程序程序中,程序由客户执行合同ct 开始。
TCP使通信能够进行连接传输。连接方向是指在数据通信开始之前为两个目的做准备。
TCP 连接需要客户端和服务器总共三个包,以确认连接的形成。在套接字程序程序中,程序由客户执行合同ct 开始。
这是三个握手的图表:

三次握手
初始握手 : 客户端设置 SYN 到 1 的标志位置, 生成随机值后数 = J, 并将数据包传输到服务器, 服务器在等待服务器确认时进入 SYN_ SENT 状态 。
当服务器收到数据包时, 徽标 SYN=1 承认客户正在寻找连接 。服务器上的 SYN 和 ACK 信号槽设置为 1 。ack=J+1,随机生成值后值 = K。为了确认连接请求,将数据包传送给客户。服务器端现已进入 SYN_RCVD 模式。
第三次握手:当客户得到确认后,这将是第一天结束这一天。检查是否 Jack 是 J+1 。ACK是否为1,如果您是准确的, 请将 ACK 符号设为 1 。ack=K+1,然后将数据包传送到服务器上。如果卡片是 K+1, 服务器端会检查它 。ACK是否为1,如果一切都是对的,连接成功建立。客户和服务器已到达创建状态。完成三次握手,此后,客户端和服务器之间可以交换数据。
初始握手 : 客户端设置 SYN 到 1 的标志位置, 生成随机值后数 = J, 并将数据包传输到服务器, 服务器在等待服务器确认时进入 SYN_ SENT 状态 。
当服务器收到数据包时, 徽标 SYN=1 承认客户正在寻找连接 。服务器上的 SYN 和 ACK 信号槽设置为 1 。ack=J+1,随机生成值后值 = K。为了确认连接请求,将数据包传送给客户。服务器端现已进入 SYN_RCVD 模式。
第三次握手:当客户得到确认后,这将是第一天结束这一天。检查是否 Jack 是 J+1 。ACK是否为1,如果您是准确的, 请将 ACK 符号设为 1 。ack=K+1,然后将数据包传送到服务器上。如果卡片是 K+1, 服务器端会检查它 。ACK是否为1,如果一切都是对的,连接成功建立。客户和服务器已到达创建状态。完成三次握手,此后,客户端和服务器之间可以交换数据。
数字三.2波四倍(焦距)。
当 TCP 连接中断时, 共需要客户和用户验证断开连接的服务提供四个包。 在套接字程序程序中, 程序由客户或服务端执行关闭的用户启动 。
因为TCP连接在任何时候都是活跃的,因此,每一方向都必须单独关闭。基本的想法是,当一方完成数据传输过程时,另一方也这样做。为终止此方向上的连接,请发送FIN。收到FIN后,仅表示没有这方面的数据流动。不会再发生这种情况,不会再发生这种情况。然而,TCP仍然能够通过这一联系提供数据。直到FIN被命令走这条路主动关闭将由第一个关闭方进行。另一方面,又进行了被动关闭。
当 TCP 连接中断时, 共需要客户和用户验证断开连接的服务提供四个包。 在套接字程序程序中, 程序由客户或服务端执行关闭的用户启动 。
因为TCP连接在任何时候都是活跃的,因此,每一方向都必须单独关闭。基本的想法是,当一方完成数据传输过程时,另一方也这样做。为终止此方向上的连接,请发送FIN。收到FIN后,仅表示没有这方面的数据流动。不会再发生这种情况,不会再发生这种情况。然而,TCP仍然能够通过这一联系提供数据。直到FIN被命令走这条路主动关闭将由第一个关闭方进行。另一方面,又进行了被动关闭。
四个波浪的流程图如下:

四次挥手
中断连接可能来自客户端或服务器。
第一波是客户发送FIN=M时为了对客户的数据传输做出结论客户进入FIN_WAIT_1州。上面写着"我的客户没有数据可以给你"但是,如果你仍然有 服务器端的数据 没有被传输,连接不一定要断开。可以继续发送数据。
服务器客户端得到了第二波: FIN。邮寄卡片等于M+1。告诉客户端,你的请求我收到了,但是我还没准备好,请留意我的来电客户现已达到FIN_WAIT_2的条件。继续等待服务器上的 FIN 消息 。
第三波:服务器认为数据已发送后, FIN=N 信息将发送客户端,告知客户端,我已处理完数据,准备停止连接。服务器将进入 LAST_ACK 状态。
第4波:在收到客户提交的FIN=N的呈文后,我相信我能切断连接但他仍然不相信互联网恐怕服务器不知道它必须关闭因此,输入Time_WAIT并发送=N+1。如果服务器端得不到ACK, 它可能会受到怨恨 。当服务器收到 ACK 时,我知道我能切断连接在等待2MSL之后,客户没有收到答复。这是服务器第一次被关闭 。那好,我的客户可以选择与网络断开连接终于完成了四次握手。
中断连接可能来自客户端或服务器。
第一波是客户发送FIN=M时为了对客户的数据传输做出结论客户进入FIN_WAIT_1州。上面写着"我的客户没有数据可以给你"但是,如果你仍然有 服务器端的数据 没有被传输,连接不一定要断开。可以继续发送数据。
服务器客户端得到了第二波: FIN。邮寄卡片等于M+1。告诉客户端,你的请求我收到了,但是我还没准备好,请留意我的来电客户现已达到FIN_WAIT_2的条件。继续等待服务器上的 FIN 消息 。
第三波:服务器认为数据已发送后, FIN=N 信息将发送客户端,告知客户端,我已处理完数据,准备停止连接。服务器将进入 LAST_ACK 状态。
第4波:在收到客户提交的FIN=N的呈文后,我相信我能切断连接但他仍然不相信互联网恐怕服务器不知道它必须关闭因此,输入Time_WAIT并发送=N+1。如果服务器端得不到ACK, 它可能会受到怨恨 。当服务器收到 ACK 时,我知道我能切断连接在等待2MSL之后,客户没有收到答复。这是服务器第一次被关闭 。那好,我的客户可以选择与网络断开连接终于完成了四次握手。
前一种情况是一方关闭了自己,另一方被动关闭,实际上也采取了同样的主动行动。
具体流程如下图:

同时挥手
三.3 具有序号和回复确认的可靠性增强
在 TCP 中,当发件人提供的数据到达收件人时,接收人可选择退回收据通知。此信件被称为 ACK 确认 。当数据发送时,发送者等待最后答复的确认。如果有确认应答,最后,这一数值表明数据已成功存取。在另一边 数据很有可能丢失。
发送者可以假定数据丢失并重新发布,而不必等待在特定时限内作出答复,因此,即使软件包被丢弃,也有可能确保数据到达预定接收者手中并可靠地交付。
没有经过核实的答复并不一定意味着数据已经丢失,还可能对应方已经收到数据,但返回的确认答复在航行中丢失,这种情况还可能导致发送者错误地假定数据没有到达目的地,数据将重新发布。
此外,还有其他一些因素可能导致延迟收到经核实的答复,以及在源主机重新发布数据后大量抵达,此时,源主机可以简单地按照程序重新分配数据。
重复收到同一数据对目标主机来说是不可取的,为了确保可靠地传输高级应用软件,目标主机必须放弃重复的数据包,为此,执行了序列号。
序号是交付数据的每字节(8位)的编号。在TCP接收数据的初始部分,接收者询问数据序列的数量和长度。提供您应当收到的序列号,作为下一步的确认答复。通过序列号和答复号确认,TCP可以确定是否收到了数据。我还可以确定是否需要接待。从而实现可靠传输。
在 TCP 中,当发件人提供的数据到达收件人时,接收人可选择退回收据通知。此信件被称为 ACK 确认 。当数据发送时,发送者等待最后答复的确认。如果有确认应答,最后,这一数值表明数据已成功存取。在另一边 数据很有可能丢失。
发送者可以假定数据丢失并重新发布,而不必等待在特定时限内作出答复,因此,即使软件包被丢弃,也有可能确保数据到达预定接收者手中并可靠地交付。
没有经过核实的答复并不一定意味着数据已经丢失,还可能对应方已经收到数据,但返回的确认答复在航行中丢失,这种情况还可能导致发送者错误地假定数据没有到达目的地,数据将重新发布。
此外,还有其他一些因素可能导致延迟收到经核实的答复,以及在源主机重新发布数据后大量抵达,此时,源主机可以简单地按照程序重新分配数据。
重复收到同一数据对目标主机来说是不可取的,为了确保可靠地传输高级应用软件,目标主机必须放弃重复的数据包,为此,执行了序列号。
序号是交付数据的每字节(8位)的编号。在TCP接收数据的初始部分,接收者询问数据序列的数量和长度。提供您应当收到的序列号,作为下一步的确认答复。通过序列号和答复号确认,TCP可以确定是否收到了数据。我还可以确定是否需要接待。从而实现可靠传输。

序列号和确认应答
三.4. 确认再次延长超时
重新印发的超时规定在重新印发数据之前必须验证答复的时间间隔。如果在那段时间内没有收到确认的答复,发送者将重新发送数据。 理想的情况是,规定一个最短期限将确保“承认的答复必须能够在此期限内返回 ” 。
无论网络环境如何,TCP都需要高性能通信。因此,无论互联网拥堵发生什么变化,都无从解决问题。必须保持这种自我认同感。为此,每次释放时,它计算返回时间及其变化。旅行时间和转移时间合并在一起。重新强调所需时间略多于这一总数。
超时为 0 。 5 秒由单位调节, 因此重复超时为 0 。 5 秒整数 。 但是, 初始再增强的默认值通常设定为大约 6 秒 。
如果在数据重新发布后没有收到经核实的答复,则重新发送数据。此时,等待确认答复的时间延长2或4倍于指数函数的次数。
此外,数据不会永远和反复重发。 一旦达到一组重复次数,如果未给予确认的答复,将确定网络或终端主机有异常情况,并被迫终止连接。
重新印发的超时规定在重新印发数据之前必须验证答复的时间间隔。如果在那段时间内没有收到确认的答复,发送者将重新发送数据。 理想的情况是,规定一个最短期限将确保“承认的答复必须能够在此期限内返回 ” 。
无论网络环境如何,TCP都需要高性能通信。因此,无论互联网拥堵发生什么变化,都无从解决问题。必须保持这种自我认同感。为此,每次释放时,它计算返回时间及其变化。旅行时间和转移时间合并在一起。重新强调所需时间略多于这一总数。
超时为 0 。 5 秒由单位调节, 因此重复超时为 0 。 5 秒整数 。 但是, 初始再增强的默认值通常设定为大约 6 秒 。
如果在数据重新发布后没有收到经核实的答复,则重新发送数据。此时,等待确认答复的时间延长2或4倍于指数函数的次数。
此外,数据不会永远和反复重发。 一旦达到一组重复次数,如果未给予确认的答复,将确定网络或终端主机有异常情况,并被迫终止连接。
三.5 在一个段落中传递信息
在构建 TCP 连接时,可以确定包件传输到哪个单位,我们也可以命名“最大电文长度 ” ( MSS ) 。 最好是,最大电文长度是IP 的最大数据长度,不会以碎片方式处理。
TCP以与MSS规模相当的分散分布方式分发大量数据,在MSS中也进行分发。
MSS将他的手伸伸三次以两个终端主机之间的差数计算 。当两端主机请求连接时,(a) 将管理支助服务选项列入《技术合作方案》第一节,相互通报可适应海安会的接口的大小。然后选择在二者中使用一个较小的数字。
在构建 TCP 连接时,可以确定包件传输到哪个单位,我们也可以命名“最大电文长度 ” ( MSS ) 。 最好是,最大电文长度是IP 的最大数据长度,不会以碎片方式处理。
TCP以与MSS规模相当的分散分布方式分发大量数据,在MSS中也进行分发。
MSS将他的手伸伸三次以两个终端主机之间的差数计算 。当两端主机请求连接时,(a) 将管理支助服务选项列入《技术合作方案》第一节,相互通报可适应海安会的接口的大小。然后选择在二者中使用一个较小的数字。
三.6 控制速度随窗口而上升
TCP用一个段落来确认答案,每个段落一个段落,这种传输的一个不利方面是,包裹旅行时间越长,通信性能就越低。
为解决这个问题,TCP开创了窗口的概念。确认在每一分段中不再能找到解决办法,在更大的单位,它更是一个确认, 它更是一个确认 在更大的单位。传输时间将大幅缩短。也就是说,发送端主机,无需在提交段落后等待答复确认。而是继续发送。如下图所示:
TCP用一个段落来确认答案,每个段落一个段落,这种传输的一个不利方面是,包裹旅行时间越长,通信性能就越低。
为解决这个问题,TCP开创了窗口的概念。确认在每一分段中不再能找到解决办法,在更大的单位,它更是一个确认, 它更是一个确认 在更大的单位。传输时间将大幅缩短。也就是说,发送端主机,无需在提交段落后等待答复确认。而是继续发送。如下图所示:

窗口控制
窗口大小是指无需等待回答确认即可传输数据的最大值。上图中的窗口大小为四段。这一方法通过向多个部分同时发送识别回复,获得了使用大量缓冲区的能力。
窗口控制
窗口大小是指无需等待回答确认即可传输数据的最大值。上图中的窗口大小为四段。这一方法通过向多个部分同时发送识别回复,获得了使用大量缓冲区的能力。
三.7 控制滑落窗口

滑动窗口
即使没有收到经核实的答复,上述窗口中的数据也可以发送出去。不过,在整扇窗的确认回复到来之前如果任何数据丢失,发件人仍负责重新发送。为此,发件人的主机必须配置缓存以保存要重新传送的数据 。直到他们得到确认
幻灯片窗口外的区域包含未发送的数据和末端收到的确认数据。当数据在不重新释放的情况下交付后及时收到确认的答复时,数据可以从缓存中删除。
如果对响应进行校验, 窗口会滑至序列号在回答中的位置。 这样可以让许多段的顺序分布增加通信性能。 这个方法也不会被称为幻灯片窗口控制 。
即使没有收到经核实的答复,上述窗口中的数据也可以发送出去。不过,在整扇窗的确认回复到来之前如果任何数据丢失,发件人仍负责重新发送。为此,发件人的主机必须配置缓存以保存要重新传送的数据 。直到他们得到确认
幻灯片窗口外的区域包含未发送的数据和末端收到的确认数据。当数据在不重新释放的情况下交付后及时收到确认的答复时,数据可以从缓存中删除。
如果对响应进行校验, 窗口会滑至序列号在回答中的位置。 这样可以让许多段的顺序分布增加通信性能。 这个方法也不会被称为幻灯片窗口控制 。
三.8 窗口控制控制响应控制
当使用窗口控件时, 投放软件包通常会分为两种情况 :
1 确认没有回复,在这种情况下,数据已抵达目的地,无需重新发布如下:
1 确认没有回复,在这种情况下,数据已抵达目的地,无需重新发布如下:

部分确认应答丢失
2 省略了某一款。如果接收者得到的数据不是预期的序列号,根据迄今获得的数据,将归还答复。如下图所示,当有一张丢失的纸,发件人总是会得到1001号序列号的经核实的答复。因此,在窗口比较大,如果报告丢失,政府无法这样做。对同一序列号确认的答复将重复重复并无限期退回。如果发送主机连续三次收到相同的确认,它们重新分配相应的数据。这一技术比先前指出的耗时管理效率更高。因此,它也被称为高速再发射控制。
2 省略了某一款。如果接收者得到的数据不是预期的序列号,根据迄今获得的数据,将归还答复。如下图所示,当有一张丢失的纸,发件人总是会得到1001号序列号的经核实的答复。因此,在窗口比较大,如果报告丢失,政府无法这样做。对同一序列号确认的答复将重复重复并无限期退回。如果发送主机连续三次收到相同的确认,它们重新分配相应的数据。这一技术比先前指出的耗时管理效率更高。因此,它也被称为高速再发射控制。

高速重发控制
网络层使用IP协议。
IP (IPv4, IPv6) 对应于 OSI 参考模型的第三层- 网络层。 网络层的主要任务就是“ 实现终端节点之间的通信 ” 。 这种通信也被称为“ 点对点通信 ” 。
数据链层是网络的下一个层,其主要功能是提供节点之间的包件,与数据连接相互配合。一旦我们跨越了多个数据连接就需要借助网络层。网络层可以跨越不同的数据连接。即使在不同的数据线上,也可以在两个节点之间进行包件传输。
IP分为三个主要行动模块:IP地点、路线(传送到目的地节点)以及IP分包和分组。
IP (IPv4, IPv6) 对应于 OSI 参考模型的第三层- 网络层。 网络层的主要任务就是“ 实现终端节点之间的通信 ” 。 这种通信也被称为“ 点对点通信 ” 。
数据链层是网络的下一个层,其主要功能是提供节点之间的包件,与数据连接相互配合。一旦我们跨越了多个数据连接就需要借助网络层。网络层可以跨越不同的数据连接。即使在不同的数据线上,也可以在两个节点之间进行包件传输。
IP分为三个主要行动模块:IP地点、路线(传送到目的地节点)以及IP分包和分组。
1. IP 地址
1. 实施伙伴地址概览
在计算机通信中必须注明与地址相类似的识别码,以便识别通信的对面端,数据链接中的MAC地址是用于识别同一连接的各种机器的识别码。
这一地址信息也可作为网络一级的IP地址提供。也称为IP地址。IP 地址用于“确定所有网络连接主机的通信目标地址 ” 。因此,在TCP/IP通信中,每个主机或路由器必须有自己的IP地址。
主机的 IP 地址 的 形状, 不论它连接到何种数据频道, 都会 保存 。
IP地址(IPv4地址)由32正整数值组成。在计算机内部,IP地址按二进制处理。然而,因为我们不习惯二进制的思考在8人组里,我们会有32位IP地址分成4组,每一套都以".. 那是很久以前的事了"开头每个数组都转换成小数点数。如下:
在计算机通信中必须注明与地址相类似的识别码,以便识别通信的对面端,数据链接中的MAC地址是用于识别同一连接的各种机器的识别码。
这一地址信息也可作为网络一级的IP地址提供。也称为IP地址。IP 地址用于“确定所有网络连接主机的通信目标地址 ” 。因此,在TCP/IP通信中,每个主机或路由器必须有自己的IP地址。
主机的 IP 地址 的 形状, 不论它连接到何种数据频道, 都会 保存 。
IP地址(IPv4地址)由32正整数值组成。在计算机内部,IP地址按二进制处理。然而,因为我们不习惯二进制的思考在8人组里,我们会有32位IP地址分成4组,每一套都以".. 那是很久以前的事了"开头每个数组都转换成小数点数。如下:

一.2 IP地址由两个部分组成:网络和主机识别。
如下图,对于数据链接的每个部分,网络识别码设定为不同的值。网络标记必须保证连接段的地址不会重叠。在同一段中,链接的东道主必须拥有相同的网络地址。IP 地址的“ 主机 ID ” 不能在同一网络段内复制 。由此,可以配置一个网络地址和一个主机地址。保证相互连接的完整网络中每个主机的IP地址没有重叠。IP地址是独一无二的
如下图,对于数据链接的每个部分,网络识别码设定为不同的值。网络标记必须保证连接段的地址不会重叠。在同一段中,链接的东道主必须拥有相同的网络地址。IP 地址的“ 主机 ID ” 不能在同一网络段内复制 。由此,可以配置一个网络地址和一个主机地址。保证相互连接的完整网络中每个主机的IP地址没有重叠。IP地址是独一无二的

IP地址的主机标识
下图说明IP包如何使用目的地 IP 地址的网络识别符传送给正在过境的路由器。即使不看主机识别符,一旦发现它是否是网络部分的主机也是可行的。
下图说明IP包如何使用目的地 IP 地址的网络识别符传送给正在过境的路由器。即使不看主机识别符,一旦发现它是否是网络部分的主机也是可行的。

IP地址的网络标识
1. 3个IPIP地址的分类
它根据IP地址第一至第四位的位元列,从主机识别码中识别其网络身份。
以“ 0” 开头的初始地址是一个类 IP 地址 。其网络身份范围从1号到8号不等。用十进制表示的话,这是一个一流的网络地址。主机识别码由24位A后地址表示。因此,分配给单一部门的最大主机地址数为16,77,214个。
前两个“10”地址是B类IP地址。其网络身份范围从第1次到第16次不等。用十进制表示的话,这是一个B级的网络地址。主机ID由16位位元后 B 地址表示。因此,分配给单一部门的最大主机地址数为65,534个。
前三个“110”地址是C类IP地址。其网络身份范围从第1次到第24次不等。用十进制表示的话,这是一个C级的网络地址。C类地址后面的8位数代表主机识别码。因此,限制有254个主机地址,可在网络段中处理。
“110”的前四个地址是D类IP地址。其网络身份介于第1位至第32位之间。如果以小数表示,则是一个D型网络地址。D类地址缺少主机身份,经常用于覆盖。
在分配IP地址时,在主机身份方面需要铭记一些事情。这篇文章是全球之声在线特稿的一部分。没有全部的0或全部的1。因为只有在相关网络 URL 或 IP 地址不可用时才使用所有零。而主机(总是一个主机)通常是一个广播地址。因此,在分配过程中,这两起案件都应撤销。因此,C类地址限于每个部分最多254-2。8主机地址的理由是(254-2=254)。
它根据IP地址第一至第四位的位元列,从主机识别码中识别其网络身份。
以“ 0” 开头的初始地址是一个类 IP 地址 。其网络身份范围从1号到8号不等。用十进制表示的话,这是一个一流的网络地址。主机识别码由24位A后地址表示。因此,分配给单一部门的最大主机地址数为16,77,214个。
前两个“10”地址是B类IP地址。其网络身份范围从第1次到第16次不等。用十进制表示的话,这是一个B级的网络地址。主机ID由16位位元后 B 地址表示。因此,分配给单一部门的最大主机地址数为65,534个。
前三个“110”地址是C类IP地址。其网络身份范围从第1次到第24次不等。用十进制表示的话,这是一个C级的网络地址。C类地址后面的8位数代表主机识别码。因此,限制有254个主机地址,可在网络段中处理。
“110”的前四个地址是D类IP地址。其网络身份介于第1位至第32位之间。如果以小数表示,则是一个D型网络地址。D类地址缺少主机身份,经常用于覆盖。
在分配IP地址时,在主机身份方面需要铭记一些事情。这篇文章是全球之声在线特稿的一部分。没有全部的0或全部的1。因为只有在相关网络 URL 或 IP 地址不可用时才使用所有零。而主机(总是一个主机)通常是一个广播地址。因此,在分配过程中,这两起案件都应撤销。因此,C类地址限于每个部分最多254-2。8主机地址的理由是(254-2=254)。
1.4 广播地址
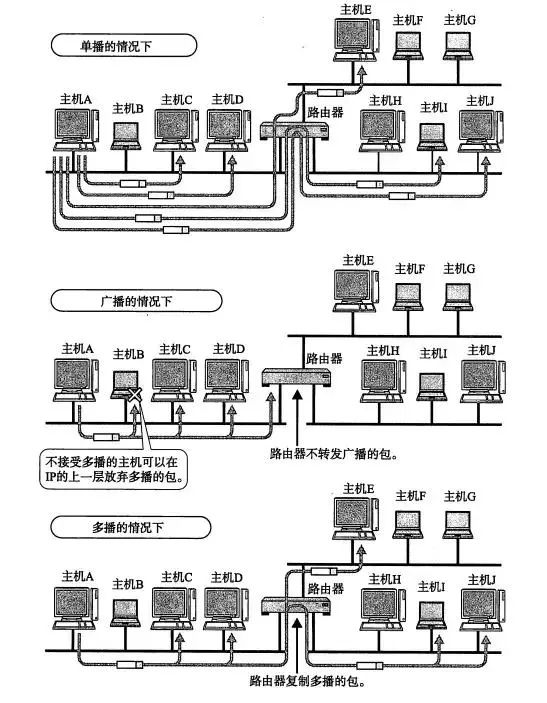
广播地址用于在同一链条主机之间传送数据包。 它将IP地址的所有主机地址部分转换为 1, 并成为广播地址 。
广播分为两类:地方广播和直接广播;地方广播在网络内广播;直接广播在网络之间广播。
广播地址用于在同一链条主机之间传送数据包。 它将IP地址的所有主机地址部分转换为 1, 并成为广播地址 。
广播分为两类:地方广播和直接广播;地方广播在网络内广播;直接广播在网络之间广播。
1.5 IP 多播
多播放所有将软件包传送到某些组的东道主。 没有可靠的传输, 因为IP 地址直接使用 。
与广播不同,它既能够穿透路由器,又能够只完成向这些群体分发数据包的必要工作。
多播放所有将软件包传送到某些组的东道主。 没有可靠的传输, 因为IP 地址直接使用 。
与广播不同,它既能够穿透路由器,又能够只完成向这些群体分发数据包的必要工作。

IP 多播
使用 D 类 地址的多播。 因此, 如果第 4 个是“ 110 ”, 它可能被视为多播地址。 其余 28 个位子可以是多播组号 。
此外,为了多广播,所有主机(路由器和终端机除外)和所有路由器都必须是该组的成员。
IP 多播
使用 D 类 地址的多播。 因此, 如果第 4 个是“ 110 ”, 它可能被视为多播地址。 其余 28 个位子可以是多播组号 。
此外,为了多广播,所有主机(路由器和终端机除外)和所有路由器都必须是该组的成员。
1.6 子网掩码
IP 地址的网络和主机 ID 不再局限于地址类型 。相反,一个小于A、B和C的粒子大小的网络被分为子网网络地址,其识别号码称为子网遮罩。这样,原A、B和C类的主机地址部分被用作子网地址。最初的网络可细分为由许多实体网络组成的机制。
使用二进制形式的子网遮罩是不可行的。也是32位数的数字它涉及所有“ 1 ” IP 地址网络标识 。IP地址中与主机识别码有关的部分均为 " 0 " 。由此,无法再将IP地址限制在单个类别。相反,他们可以使用这种子网面罩自由查找其网络的识别长度。当然,在第一个 IP 地址, 子网面罩必须从“ 1 ” 开始 。
子网遮罩现在以两种方式表示。 首先是用子网遮罩的两个不同行显示 IP 地址。 例如, 前26个点是互联网地址, 具体如下:
IP 地址的网络和主机 ID 不再局限于地址类型 。相反,一个小于A、B和C的粒子大小的网络被分为子网网络地址,其识别号码称为子网遮罩。这样,原A、B和C类的主机地址部分被用作子网地址。最初的网络可细分为由许多实体网络组成的机制。
使用二进制形式的子网遮罩是不可行的。也是32位数的数字它涉及所有“ 1 ” IP 地址网络标识 。IP地址中与主机识别码有关的部分均为 " 0 " 。由此,无法再将IP地址限制在单个类别。相反,他们可以使用这种子网面罩自由查找其网络的识别长度。当然,在第一个 IP 地址, 子网面罩必须从“ 1 ” 开始 。
子网遮罩现在以两种方式表示。 首先是用子网遮罩的两个不同行显示 IP 地址。 例如, 前26个点是互联网地址, 具体如下:

第二个标志是,在每个IP地址之后添加一个网络地址的地点数目由斜线分隔,如下所示:
第二个标志是,在每个IP地址之后添加一个网络地址的地点数目由斜线分隔,如下所示:

2. 路由
发送软件包所用的地址是网络级地址。即 IP 地址。但是,仅仅知道IP地址不足以将数据包传送到同侪的目的地地址。在数据传输程序期间,与“指示路由器或主机”相类似的信息也是必要的。将它真正传送给预定的接收者。这些资料储存在路线控制表中。
路线控制表以两种方式建立:由管理员手工制作,由路由器与其他路由器交流信息自动制作,前者也称为静态路线控制,后者称为动态路线控制。
IP协议一直认为路线表是有效的,但IP没有具体规定创建路线控制表的协议。IP也没有提供创建路线控制表的方法。这个短语是由被称为“公路协议”的协议创建的。
发送软件包所用的地址是网络级地址。即 IP 地址。但是,仅仅知道IP地址不足以将数据包传送到同侪的目的地地址。在数据传输程序期间,与“指示路由器或主机”相类似的信息也是必要的。将它真正传送给预定的接收者。这些资料储存在路线控制表中。
路线控制表以两种方式建立:由管理员手工制作,由路由器与其他路由器交流信息自动制作,前者也称为静态路线控制,后者称为动态路线控制。
IP协议一直认为路线表是有效的,但IP没有具体规定创建路线控制表的协议。IP也没有提供创建路线控制表的方法。这个短语是由被称为“公路协议”的协议创建的。
2.1.1 IPIP地址和路线管理
IP地址部分用于路线控制。
路由器控制表储存网络地址以及路由器在下一个阶段应通向的地址。
在传输IP软件包时,然后在IP包的前半部分找到目标地址此外,路线控制表还有与地址相同的网址网址的日志。基于此信息, IP 软件包被路由到相关路由器 。如果在路线控制表中有大量同一网络URL的记录,则将有一个以上的互联网地址。选择最相关的网络地址 。
IP地址部分用于路线控制。
路由器控制表储存网络地址以及路由器在下一个阶段应通向的地址。
在传输IP软件包时,然后在IP包的前半部分找到目标地址此外,路线控制表还有与地址相同的网址网址的日志。基于此信息, IP 软件包被路由到相关路由器 。如果在路线控制表中有大量同一网络URL的记录,则将有一个以上的互联网地址。选择最相关的网络地址 。

随着IP包的交付,路线控制表被发送。
三. 集团和知识产权分包合同
最大传输单位(MTU)从一个数据链接到下一个数据链接的变化,因为每个数据链接具有不同的功能。每个目的可能携带的MTU有所不同。
每个主机必须正确处理 IP 断层 。 只有在无法同时提供更大的报告时才经常在互联网上处理分类 。
只能由目的地主机在碎片重新组装后才能进行 IP 数据报告 。 操作碎片时不会对路由器进行重组 。
最大传输单位(MTU)从一个数据链接到下一个数据链接的变化,因为每个数据链接具有不同的功能。每个目的可能携带的MTU有所不同。
每个主机必须正确处理 IP 断层 。 只有在无法同时提供更大的报告时才经常在互联网上处理分类 。
只能由目的地主机在碎片重新组装后才能进行 IP 数据报告 。 操作碎片时不会对路由器进行重组 。
三.1 MTU 发现路径
次级机制也有缺陷,例如路由器的额外处理负担,因此,只要允许,路由器就不应将它视为知识产权数据集的一部分。
针对子机制的不足,开发了“路径 MTU发现” 技术。 路径 MOTU 指的是发件人的主机和接收人的主机之间不需要共享的最大 MTU 的大小。 这是路径中所有数据线中最低的 MTU 。
路径 MTU发现,避免在中间路由器上分割或交付更大的TCP包是可行的。
次级机制也有缺陷,例如路由器的额外处理负担,因此,只要允许,路由器就不应将它视为知识产权数据集的一部分。
针对子机制的不足,开发了“路径 MTU发现” 技术。 路径 MOTU 指的是发件人的主机和接收人的主机之间不需要共享的最大 MTU 的大小。 这是路径中所有数据线中最低的 MTU 。
路径 MTU发现,避免在中间路由器上分割或交付更大的TCP包是可行的。
4. IPv6
IPv6(伏击6)是一个网络间协议,已经标准化,从根本上解决IPv4处理耗竭问题。IPv4 地址的长度为 4 8 位元字节。即 32 比特。IPv6 地址长度是最初地址长度的四倍。即 128 比特,一般使用8 16 位元字节。
IPv6(伏击6)是一个网络间协议,已经标准化,从根本上解决IPv4处理耗竭问题。IPv4 地址的长度为 4 8 位元字节。即 32 比特。IPv6 地址长度是最初地址长度的四倍。即 128 比特,一般使用8 16 位元字节。
四.IPv6 属性
路线控制表的扩展和汇总发送给IP。
改进性能。 软件包的头部使用固定值( 40 字节) 而不是初始测试代码。 简化第一个结构, 减少路由器的压力。 路由器不再使用碎片 。
支持侵入函数。 即使没有 DHCP 服务器, IP 地址也会自动指定 。
增加认证和加密机制,以及网络安全功能,以处理假IP地址和封锁窃听的能力。
移动IP成为多播的延伸。
路线控制表的扩展和汇总发送给IP。
改进性能。 软件包的头部使用固定值( 40 字节) 而不是初始测试代码。 简化第一个结构, 减少路由器的压力。 路由器不再使用碎片 。
支持侵入函数。 即使没有 DHCP 服务器, IP 地址也会自动指定 。
增加认证和加密机制,以及网络安全功能,以处理假IP地址和封锁窃听的能力。
移动IP成为多播的延伸。
四. 四.IP处理两个IPv6网络中的标记方法
一般说来,128位位IP地址用16位位的组别来表示,这些组别除以冒号(":")。
此外,如果出现连续 0, 0 可以被删除, 并被两个冒号( “ : ” ) 分开。 尽管如此, 只有一个 IP 地址只允许两个连续的冒号 。
一般说来,128位位IP地址用16位位的组别来表示,这些组别除以冒号(":")。
此外,如果出现连续 0, 0 可以被删除, 并被两个冒号( “ : ” ) 分开。 尽管如此, 只有一个 IP 地址只允许两个连续的冒号 。
四.A 3-ipv6地址结构
IPv6 与 IPv4 相同,也是 IP 地址所示的 IP 地址 。
互联网通信使用全球单一广播地址,这是互联网上不需要依法分配给IP地址的唯一地址。
IPv6 与 IPv4 相同,也是 IP 地址所示的 IP 地址 。
互联网通信使用全球单一广播地址,这是互联网上不需要依法分配给IP地址的唯一地址。

四.4. 单一全球地址
“全球单一地址”一词指世界上唯一的地址,是互联网和内部通信中最常用的IPv6地址之一。
如下图所示,IPv6网络目前使用的格式为 n= 48, m = 16, 128 - n - m = 64. 这是网络标识之前的64位和之后的64位。
“全球单一地址”一词指世界上唯一的地址,是互联网和内部通信中最常用的IPv6地址之一。
如下图所示,IPv6网络目前使用的格式为 n= 48, m = 16, 128 - n - m = 64. 这是网络标识之前的64位和之后的64位。

全局单播地址
四.5 连接单一本地地址
本地单一链接地址指同一数据连接中唯一的地址。 当同一链条中没有路由器时, 用于通信。 界面 ID 通常保存 MAC 地址的64 位副本 。
本地单一链接地址指同一数据连接中唯一的地址。 当同一链条中没有路由器时, 用于通信。 界面 ID 通常保存 MAC 地址的64 位副本 。

链路本地单播地址
6.6 4个独特的当地地址
虽然互联网上没有连接,但只使用当
本文由 在线网速测试 整理编辑,转载请注明出处。