最后更新:2021-12-29 16:51:35 手机定位技术交流文章
目录
前言
一. 《摩布/TCP协定》
一. Modbus/TCP报告议定书
2.功能码
W5,500 W5,Ethernet单元2
1.简介
2.模块排针功能表
三.STM32+W5500+模式协议的制定
四.STM32+W5500网络服务
五.参考文献
收集了W5,500网络模块的特性,并在此基础上设计了应用层模式和httpd(网络服务)协议,完成TPCP数据传输和DHCP自动访问IP的模块供应商包。
开始时,在开头增加六个字符,以表明各种TCP/IP要求因素。
字节0:此传输中的信息总数为两个字节( 字节 0, 1 )。顶部字符由此字节表示 。通常是一个总号。区分每条信件 。如果它是奴隶,主的询问消息将被发送到答覆中。
字节1: 此信件的信息编号位于字符下方 。
字节2:通信协议识别号以两字整数(Byte 2 或 3)表示,该字节是顶级字符,此处为零。
字节3:与通信协议识别号相对应的字符在本案中为零。
字节4:电文的长度以两个字节(字节4、5)的整数表示,字节为顶部字符(从设备地址到数据),因为长度不能超过256个总是为零的位置。
字节5: 信件的底部字符( 从设备地址到数据) 。
本项目是民主地址-数据特别报道的一部分。它们都是十六进制 ASCII 代码, 将原始的八位元转换为两码。因此,发送的字符数量大约是RTU格式的两倍。数据:许多字符的存在表明,每项《行动守则》的信息量各不相同。
根据Modbus,IP港口号,是502号
Modbus 协议定义了一个与基本通信层无关的简单协议数据模块(PDU ) 。 特定总线或网络线上的 Modbus 协议地图可能会在应用数据模块(ADU)中引入更多域 。
Modbus 应用程序数据模块由启动 Modbus 交易的客户创建。 函数代码向服务器指定您要执行的操作 。
Modbus协议为客户机的启动指定了请求结构 。
Modbus 数据模块的功能域用一个字节编码。 有效性范围是 1-255 (128-255) 。 当从客户端发送信息到服务器时, 通过服务器进行的功能域是什么类型的操作?
从客户端传送到服务器的信息数据字段中包含更多信息,服务器利用该服务器来完成功能代码显示的行动。此域还包含离散项目和保存地址、处理的事物数量以及域内的真实数据字节。
请求中的数据字段可能不存在, 在此情况下服务器不需要更多信息。 函数代码只是定义了进程 。
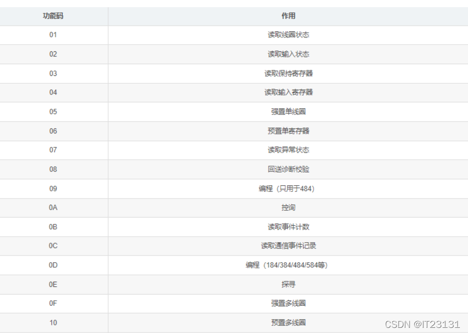
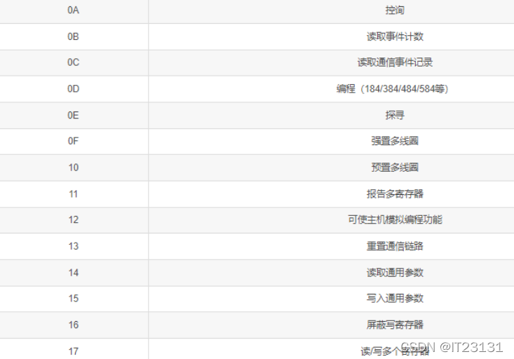
功能码的类型
功能代码分为三类:活动代码、异常代码和错误代码。
如果您是正确的 Modbus ADU 接收器之一,没有与 Modbus 功能请求有关的问题。请求中的正常功能代码随后将列入服务器对客户的回复数据。如果莫德布斯功能请求有问题,然后,答复数据包括异常和误差代码。

Niren_W5500Ethernet模块以WIZnet W5,500芯片为基础。Mudman电子公司在Niren_W5100模块之后建造了这个性能更高、费用更高的以太网模块。模块集成硬件TCP/IP协议协议:32千字节内到TX/RX
缓存: 支持 10/ 100 Mbps 传输速率 10/ 100 Mbps 支持 10 / 100 Mbps 传输速率; 支持同时运行的八个独立港口 ; 支持 模块3.3V 或 5V 供电 和 5V 供电 也可以出口 3.A 3V 电源, 供各种单向系统使用; 模块以简单方便的方式与单件系统通信 SPI 通信
线条的识别、针头的功能描述、针线的功能描述、针线的功能描述、针线的功能描述、亚麻线的功能描述、针线的功能描述、针线的功能描述、亚麻线的功能描述
5V 5V 电源输入 立升 3V 3.3V 电源输入 立升 3V 3.3V 电源输入 立升 3V 电源输入 立升 3V 3.3V 电源
MISO SPI 主机输入用于从机器输出的 GND 动力脚中提取脚。
MOSI SPI 从机器输入到脚的主机输出,RST W5500硬件初始化到脚(在低水平有效)
SCS SPI SLVE 选择一个试点脚(低水平有效) INT W5500 打断试点脚(低水平有效)
ScLK SPI 时钟让NC脱钩
代码
main()函数
W5500配置函数
main函数
GPIO初始化函数
连接到 W5500 的配置 :
http请求
智能橙色博客 - CSDN STM32+W5500 Ethernet 模块博客
分析ModBus/TCP协议书_Kevin_Bobolkevin博客-CSDN博客_modbus通讯协议
本文由 在线网速测试 整理编辑,转载请注明出处。