最后更新:2022-04-06 10:44:18 手机定位技术交流文章
利用下列技术:JAVA[sringmvc/spring/ mybatis]、Mysql、Html、Jquery和CSS。
TCP/IP、HTTP和MQTT协议和福利
后台服务、传感器分辨率服务和在线显示是系统的例子。
实时数据采集和远程控制;警报信息管理和报告出口;自动化控制、触发管理;历史数据、报告出口能力;分账户和现场授权管理;景观信息管理;网关信息管理;以及传感器信息管理是当前的网络系统支助服务。
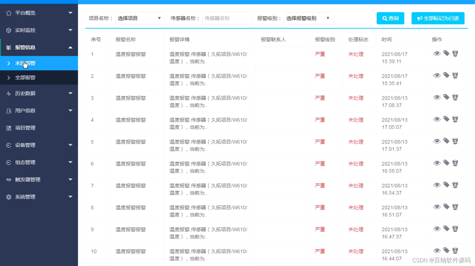
后台功能展示:






一. 失明警报:包括警报名称、信息、警报水平、标记、时间、操作等等。
2. 所有警报:包括警报的名称、描述、报警程度、标记、时间、操作等等。




一. 设备管理:设备通报、视频信息
二. 第二组行政:组名单、构成部分行政
三. 触发器管理:触发清单、警报联络
四. 系统管理:用户清单、服务统计、项目清单、装置清单、装置仓库、图标管理、数据字典、系统参数






本文由 在线网速测试 整理编辑,转载请注明出处。