最后更新:2022-05-17 01:38:02 手机定位技术交流文章
目录
一. 跨平台通信
二. (IPV4) 地址
2.1.1 实施伙伴地址的分类
2 两个独一的 IP 地址
子网司/可变质子网遮罩(VSLM) 2.3
2.4 没有地区间路线(CIDR)。
三. 第七级参考模型(OSI)
四.TCP/IP模式(组装)
5. 封装和解封装
5.1 应用层
5.2 传输层
5.2.1 TCP包装数据结构
5.2.3 UDP数据结构
五、二、四、四 三种握手方式
五、二、五、五、四波机制
五. 2.4.4 TCP传输可靠性
5.3 网络层
5.4 数据链路层
5.5 解封装

PC1访问PC3可不是个好主意PC1和PC3在不同的网络上。不同的广播域。PC1是三层源 IP 地址 。PC3是目标 IP 地址 。PC1是双层MAC地址。目标地点的MAC地址不详。因为是跨广播域,需要找网关,因此,数据必须首先传送到路由器。确定网关左侧部分(GE 0/0/0)的MAC地址(GE 0/0);通过网关IP地址使用ARP协议检索网关上的MAC地址。目前,目的地MAC地址被指定到GE 0/0MAC地址。数据到达交换机,然后通过MAC地址列表查看。如果发现相应的记录,则将其传送到GE0/0/0。如果他们不发现 他们会广播的总体而言,路由器收到了PC1数据。路由器收到数据后 开始解开按钮然后,你注意到目标MAC地址 在二楼是你。三层目标IP地址不是意外造成的这是一个通过自己的GEO0/0/1接口连接到广播场的设备。然后转发,数据重新包装:MAC的源地址是路由器上的GE0-0/1。目标的停战委员会地址仍然不明。但只有在符合美国退休人员协会协议的情况下才能这样做。ARP协议用于检索PC3的MAC地址。然后我们找到目标MAC的地址数据发给交换机,然后通过MAC地址列表查看。如果发现相应的记录,它们将被传送到PC3。如果广播下落不明,将进行广播。如此,实现了交叉广播通信。
A、B、C、D和E类:
通信方式:
1 A类地址:0XX XX - 第一个二进制设为0。
在00至011之间,有一个可实际进入的地址1-126。
固定网络遮罩 - 网络位置前8名,主机位置下24名
A类地址有2(8-1)(2无)网络段和1个网络,有224(0+主机位置1)IP地址。
例如:
10XXxxB地址。 - 10个最佳二进制修正
100 00至1011 11 - 12891
固定网络掩码:网络位置前16名,主机位置下16名。
B类有2个(16-2)网络部分,2个16个(2个没有:0+主机位置1),在一个部门有IP地址。
示例:
110X XX是C地址 前三个二元常数是110
1100 00至1101 11,以及192至223
固定网络遮罩 - 网络位置前24名,主机位置下8名
2个(24-3)网络部分和1个网络有2个8个(2个不可用:0+主机位置1),IP地址被划为C类地址。
示例:
110 XX是 4 D 的地址。
1110 0000 - 1110 1111 ---- 224-239
5 E 街道地址:11 XX - 固定前4位第4个二进制11,无面罩
1111 0000 - 1111 1111 ---- 240-255
一. 如果计算机无法与互联网连接,请回至地址: -可以确定按键命令有什么不正确之处。我们必须有自己的IP地址我不知道我在说什么 但我不知道我在说什么叮当网关的IP地址和叮当网关这个问题很可能是在这个网关的范围内,但不能使用。可能是路由器或开关平平一般规则可能具有更大的适用性。然后可以在同一个开关上测试其他装置。根据平规则 路由器的开关有问题拆开的基本规则是,它们与总机或总机本身之间有问题。
二. 路由器限制广播地址只用于具体的IP地址。
三. 网络位置仍然固定,主机位置总是1。 这正是它的含义。
192.1. 所有X/24段部分用户只能使用目标IP。
四. 24-网络位置保持静态,东道方位置为零,说明网络的一个部分,并具体说明范围(192)一.X/24,不是地址;
5个无效地址(保留地址):0.X.X.X.X。
6个本地链接地址/自动-私人地址(本地链接):24 - 当 DHCP 协议没有获得IP 地址时指定一个自动私人地址。
24由两个子网组成。
192.168.1.0 0000000/25 --- 192.168.1.0/25(192.168.1.1 - 192.168.1.126)
192.168.1.1 0000000/25 --- 192.168.1.128/25(192.168.1.129 - 192.168.1.254)
16个子网 - 8个子网
1010 1100. 0001 0000. 0010 0000. 0000 0000
172.16.0.0/19 172.16.0.1 - 172.16.15.254
172.16.32.0/19 172.16.32.1 - 172.16.63.254
172.16.64.0/19 172.16.64.1 - 172.16.95.254
172.16.96.0/19 172.16.96.1 - 172.16.127.254
172.16.128.0/19 172.16.128.1 - 172.16.159.254
172.16.160.0/19 172.16.160.1 - 172.16.191.254
172.16.192.0/19 172.16.192.1 - 172.16.223.254
172.16.224.0/19 172.16.224.1 - 172.16.255.254
1111 1111. 1111 1111. 0000 0000. 0000 0000
① 192.168.0.0/24、192.168.1.0/24、192.168.2.0/24、192.168.3.0/24
192.168.00000000
192.168.00000001
192.168.00000010
192.168.00000011
22 - 超级网络
② 172.16.0.0/24、172.16.1.0/24、172.16.2.0/24、172.16.3.0/24
22 - 子网合并
开放系统互连参考模型(OSI/RM)
1977年,联合王国标准化研究所改为国际标准化组织
1978年公布了初步版本,1979年经稍作改进后公布了最终版本。
OSI参考模型的关键概念是分层,属于同一层次的职能或目的相同或类似;属于其他层次的职能或目的大不相同,每个层次提供增值服务取决于较低层次的服务提供情况。
第1层更便于标准化;第2层减少相关性;第3层更容易学习和掌握。
侵略、直观;传输层、网络层、数据链接层、物理层
端口 ID 基本上是16位数的二进制方案。范围:0 - 65535,0作为保留端口,因此,港口号从1到65535不等。众所周知的港口号是1 -1023港口号有各种区别和标签用途。
为了保持数据的完整性(收到和以前公布的相同数据),媒体存取控制层(MAC)采用了FCS(框架校准序列)-CRC循环冗余技术。
TCP/IP有四层:应用层、传输层、网络层和网络界面层。
第5层 - 用于传输、联网、数据连接和物理层。
TCP/IP模式与OSI模式的TCP/IP模式



PDU代表礼宾数据股。
OSI第七级参考模型中的L1PDU、L2PDU和L7PDU
TCP/IP模式包括:
电文 - 应用层; 第段 - 传输层; 包包 - 网络层; 框架 - 数据链接层; 比特流 - 物理层
TCP(传播控制议定书)、UDP(用户数据报告议定书)
TCP和UDP的区别:
TCP和UDP使用案例:TCP更适合低效率但精度高的情景;UDP更适合高效率但精度低的情景。
数据在数据传输前传送,使用预先安排的协议在数据传输前建立点对点连接。会话是分开的。
因为只有一个选择, TCP 头部是灵活的。 TCP 头部至少有20字节。

一. 港口号:源港口(16比特),目的地港口(16比特)。
二. 序号秒号(32):Seq序列号,以表示从TCP源到目的地终点的字节流,由发起人在传输数据时记录。
三. 启动:1个验证该作用;2个指定下一个数据包的序列号,我想这样做。
四. 第一部长(4):头长多久,是否可以使用TCP头作为变数头?
五点保留(6点):请勿打扰。
六. 旗(6):6,每个标记得分为0/1
URG 紧急标记: 有一个有效的紧急指针( 16 比特) (紧急指针) 。如果有任何事实必须尽快处理,我们实施了紧急标准1。人们首先了解的是,必须首先解决这一数据问题。等效的标尺由紧急指针触发。具体说明这一信息的来源。
ACK 使标记合法化: a 1 表示序列号有效 。
PSH: 位置 1 表示您的数据不需要在缓存中等待, 然后再立即发送到进程 。
RST: 重置连接。 网络控制, 强制分离
SYN 同步请求标识:请求新建连接。
设置 FIN 断开连接的信号 1, 以断开连接 。
7个窗口大小( 16 比特) - 流量控制方法、 校验和( 16 比特, 假头) 和紧急指针( 16比特) 。
除了评价传输层头和数据部分的内容外,还将检查网络层12字节的数据(32-位IP、32-位IP、8位数保留、8位数协议、16位数总长度)。

TCP协议使用3次握手和4次挥手来建立和终止连接。

在传输数据之前,建立连接。客户端将第一个数据包发送到服务器: SYN = 1Seq = x(按机率确定),后数= 0; 服务器向客户端发送第二个数据包; ACK = 1。SYN = 1,acknumber = x+1,ACK = 1; 客户将第三个数据包传送到服务器: follow = y (随机值b)。seq = x+1,acknumber = y+1。

数据发完后,客户端 A 将第一个数据包发送到服务器 B, 其参数如下: FIN = 1 。一旦服务器B收到数据,后续=u(数据量);发送客户端第二个数据包:ACK=1。acknumber = u + 1,然后切断A-点-B链接。因为B现在可能还有进一步的信息要发送因此,B提供给A的FIN数据包没有列入ACK数据包。当B数据可用时,A的第三个数据包由B发送:FIN=1。一旦A得到数据,Seq = w;第四个数据包正在发送到B:ACK=1。seq = u + 1,acknumber = w + 1,然后切断B指针与A的联系四波波已经到头了数据数量载于该过程的序号。
ACK、再传输机制、分类方法和流量控制机制
确认机制:在TCP的初始部分有一个标志--ACK。此符号显示确认编号是否正确。数据到达的顺序将由接收方确认。当标记 ACK=1 是真实的时, 请在第一部分确认确认字段 。进行确认时,字段的价值表明,数据在数值验证之前就已井然有序。如果发件人从数据收到确认电文,这将是数据首次发送。数据下一节是传输的;如果某一特定时期未收到确认,则采用这一机制。
如果收件人在发送后指定时间内未核实一则电文,发送者将重新发送该电文,并且将有一个数据的最大存续时间,即MSL,该时间之后将再次发送。
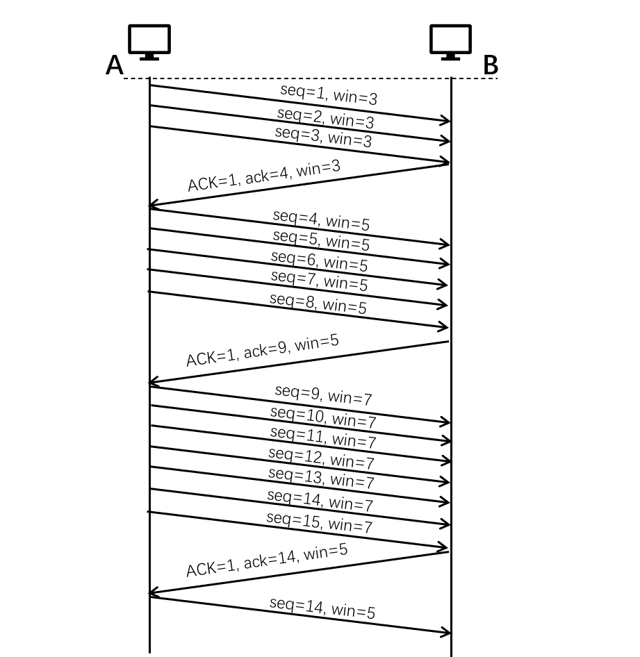
排序机制:每届TCP会话以32位(位)序号结束。序列号用来记录在该端提供的数据数量。每个包包都包含一个序列号。接收端使用确认号通知发送者成功收到数据。TCP为每个数据字节指定了一个数字。保证可靠性,为确保为达到最高效率对数据进行适当排序,可实现多次发送,要删除重复的数据,需要确认一次。如图,A必须把100字节送到BA 以数据项开头,前300个字节的初始传输如下:第一字节后继=x+2。传送的最新字节数据为后数=x+301。在B拿到数据的最后字节之后发出确认,后数=x+302;第二段300字节:后数=x+302Seq=x+601是传送的最后字节数据。在B拿到数据的最后字节之后发出确认,最后一段400字节:初始字节后数=x+602, knutt=x+602,传送的最新字节数据为后数=x+1001。在B拿到数据的最后字节之后发出确认,acknumber=x+1002。最后,数据按序号排序。拼成完整数据。
流量控制方法(滑动窗口机制)与窗口大小相连。窗口的大小反映了可同时发运的包裹数量。确认窗口值为可同时收到的数据包的最大数量。窗口的值是动态数据。TCP允许由接收端确定处理能力(窗口值)。确定发件人的发货速度,这种方法称为交通管制。TCP报告初始部分包括16位数的窗口长度。当发送者向接收者发送数据时,缓冲区的剩余面积在ACK反应中加以考虑。输入 16 窗口配置。其大小随数据发送而波动。窗口越大,网络吞吐量越高,一旦接收者意识到他们的缓冲区被填充,他们就无法这样做。将窗口修改为较低值并通知发件人。如果缓冲区满,就将窗口置为0,发送者在收到数据后停止提供数据。因此,必须定期发送窗口探测数据部分。允许接收器将窗口大小告知发件人。
IP 地址(IP) 的主数据结构 :

分类:当数据被过度包装时,数据可分为许多部分。 答复:(a) 数据传输不正确时,很难再次传送大数据;(b) 数据大,无法造成网络堵塞。 3 数据链接层太大,无法封装。
MTU(Ethernet II框架):最大中转单位--数据链层对可达到的最大数据尺寸的限制。
最大区段长度( MSS( TCP) ) :(tCP)项应保证数据部分不超过最长长度。1460字节是理论最大值。这是一个必须商定的价值。三方SYN捆包中包括了一次磋商。如果两个 MMS 的值不同,则将按小的执行。
广域网目前正在使用早期局域网的解决方案,可被视为带有总机的双层网络。

以太网二框架:数据包装不得超过1500字节(默认、可编程)。
a 作为序言前缀的标记Type:指定用于更高层次数据的协议。
FCS(框架校准序列):CRC循环冗余机制,确保数据的完整性。
电信以传输介质进行分配,无需密封。
将电话转换为物理层的二元数据然后传送到数据链层在数据链接层看到MAC地址地址是自己,就拆掉MAC头部,继续发送; 地址本身不是 。就丢弃数据。见网络一级的IP地址。地址是自己,就拆掉IP头部,继续发送; 地址本身不是 。就丢弃数据。见转移层的TCP头部。判断应该传到哪里,然后重组数据,传输到应用层。对原始数据侵略的二元至原始数据侵略数据拆解过程是数据封装的反面。

本文由 在线网速测试 整理编辑,转载请注明出处。